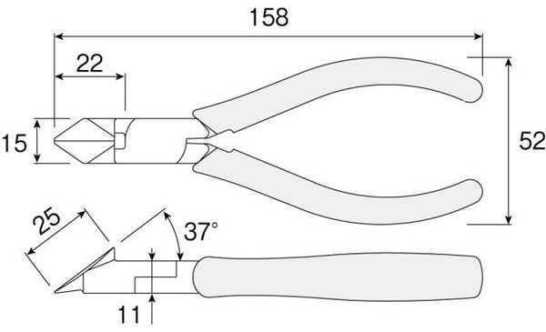
●銅線切断に適した鋭い切れ味、使いやすい斜刃です。
●切断能力(mm)鉄線:φ1.4
●切断能力(mm)銅線:φ2.6
●全長(mm):158
●質量(g):140
●ラウンド刃
●原産国:日本