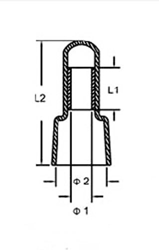
Rextin 1000pcs Transparent CE2 Protective Closed End Wire Crimp Connector Cap (1000pcs)

[Product Information]